Vw Passat 1 8t Engine Diagram This Visual Breakdown Could Save You Thousands - TOPSTERN
Mar 3, 2025 · 1. VW Type 1 Engines (Beetle, Karmann Ghia, Thing, Type 2 Bus) These engines were flat-four, air-cooled, rear-mounted, and used in many VW models. Engine Code Displacement Fuel. Jun 6, 2025 · I have been reading the Passat sedan is returning in 2026 which would be available this Fall. Any word if it will be available in the USA and will it include 4Motion? Sep 23, 2009 · So here is a cooling system and engine temperature issue thread. Read this before posting on your over heating car and such. I will also outline the commonly failing thermostat. So.
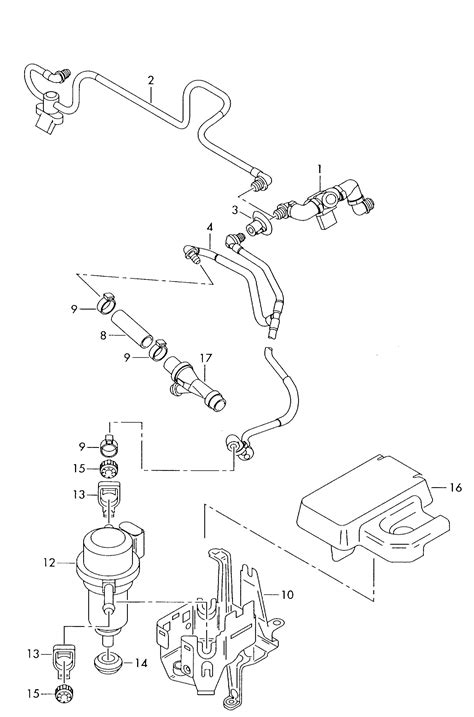
Apr 11, 2012 · well im going to be deleting all the emissions stuff in the engine bay soon. so i decided to put a thread together about it. i will throw my own DIY together once i have all the supplies to do it..